Характеристики
Бренд
Lightstar
Страна производителя
Италия
Артикул поставщика
205027
Коллекция
Teta
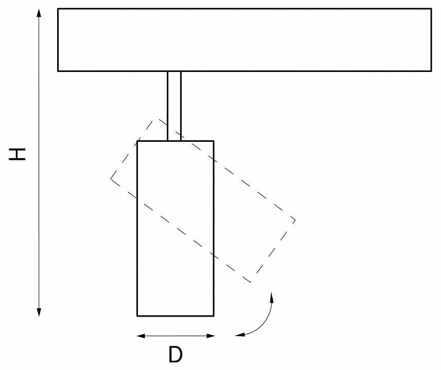
Высота (мин), см
19
Высота, см
19
Диаметр, см
5
Количество плафонов
1
Форма плафонов
цилиндр круглый
Направление плафонов
любое
Тип лампы
светодиодная [LED]
Общее количество ламп
1
Лампы в комплекте
светодиодная [LED]
Напряжение питания лампы, В
220
Максимальная мощность лампы, Вт
15
Степень пылевлагозащиты, IP
20
Стиль
техно
Место размещения
Потолок
Помещение
Офис
Площадь освещения, м2
7.5
Гарантия, месяцы
12
Поверхность
матовая
Серия
Teta
Материал
металл
Цвет
черный
Цвет лампы
белый теплый - белый дневной
Цветовая температура, K
3000-6000
